PCF8563T/5 RTCs Datasheet, Pinout, Specification
Chip Ic Release time:2024-03-01 Page View:214
PCF8563T/5 Real Time Clock Binary I2C 1-5V RTC IC
What is rtc?

RTCs, or Real-Time Clocks, are electronic devices that are used to keep track of the current time and date. They have their own power source, usually a small battery, to maintain the timekeeping function even when the main power source is turned off. RTCs are commonly used in various electronic devices such as computers, microcontrollers, industrial equipment, and consumer electronics to provide accurate timekeeping information.
RTC clocks typically include a clock generator circuit, a counter to keep track of time, and a small amount of memory to store the current date and time information. They often have additional features such as alarms, timers, and calendar functions to enhance their functionality.
RTC clocks are essential for many applications that require precise timing, scheduling, and synchronization of tasks. They provide a reliable reference for time-based operations and are used in a wide range of devices to ensure proper timekeeping and coordination of functions.
RTCs Classification
Real-time clocks (RTCs) can be classified based on various criteria such as their power source, interface, accuracy, and functionality. Here are some common classifications of RTC clocks:
1. **Power Source:**
- **Battery-Powered RTCs:** These RTCs rely on a battery to maintain the timekeeping function even when the main power source is disconnected.
- **Supercapacitor-Powered RTCs:** Some RTCs use supercapacitors instead of batteries for power backup.
2. **Interface:**
- **I2C RTCs:** RTCs that communicate using the Inter-Integrated Circuit (I2C) protocol.
- **SPI RTCs:** RTCs that communicate using the Serial Peripheral Interface (SPI) protocol.
- **UART RTCs:** RTCs that communicate using the Universal Asynchronous Receiver-Transmitter (UART) protocol.
3. **Accuracy:**
- **Standard Accuracy RTCs:** These RTCs provide basic timekeeping accuracy suitable for most applications.
- **High-Accuracy RTCs:** RTCs with better precision and stability, often used in applications where precise timekeeping is crucial.
4. **Functionality:**
- **Basic RTCs:** Provide timekeeping functions such as hours, minutes, and seconds.
- **Advanced RTCs:** Include additional features such as alarms, timers, calendar functions, and temperature sensors.
5. **Integration:**
- **Stand-Alone RTCs:** These are independent RTC modules that can function on their own.
- **RTC Modules:** Integrated RTCs that are part of a larger system or microcontroller.
6. **Temperature Compensation:**
- **Temperature-Compensated RTCs:** RTCs that incorporate temperature compensation to maintain accuracy across a wide temperature range.
7. **Package Type:**
- **Surface Mount RTCs:** Designed for automated assembly processes and typically used in compact devices.
- **Through-Hole RTCs:** Feature leads that are inserted through holes in a printed circuit board and soldered on the other side.
PCF8563 General description
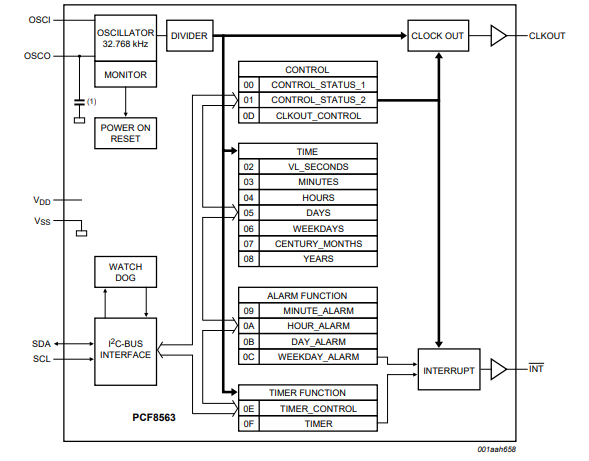
The PCF8563 is a CMOS1 Real-Time Clock (RTC) and calendar optimized for low power consumption. A programmable clock output, interrupt output, and voltage-low detector are also provided. All addresses and data are transferred serially via a two-line bidirectional I2C-bus. Maximum bus speed is 400 kbit/s. The register address is incremented automatically after each written or read data byte.
PCF8563T/5 Features and benefits
Provides year, month, day, weekday, hours, minutes, and seconds based on a 32.768 kHz quartz crystal
Century flag
Clock operating voltage: 1.0 V to 5.5 V at room temperature
Low backup current; typical 0.25 mA at VDD = 3.0 V and Tamb = 25 °C
400 kHz two-wire I2C-bus interface (at VDD = 1.8 V to 5.5 V)
Programmable clock output for peripheral devices (32.768 kHz, 1.024 kHz, 32 Hz, and 1 Hz)
Alarm and timer functions
Integrated oscillator capacitor
Internal Power-On Reset (POR)
I2C-bus slave address: read A3h and write A2h
Open-drain interrupt pin
PCF8563T/5 Applications
Mobile telephones
Portable instruments
Electronic metering
Battery powered products
PCF8563T/5 CAD-Model
Symbol

Footprint

3D-model

PCF8563T/5 Pinout
PCF8563T/5 diagram
Block diagram

Application Diagram

Device diode protection diagram

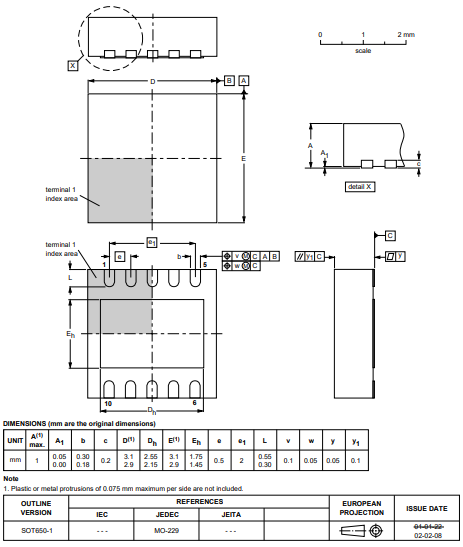
PCF8563T/5 Package

Please swipe to the last two part for Downloading PCF8563T/5 datasheets, browsing PCF8563T/5 specifications and manufacturer documentation.
Specifications
- Manufacturer :
- NXP Semiconductors
- Product Category :
- Real Time Clocks
- Base Part Number :
- PCF8563
- Clock Frequency :
- 0.032MHz
- Current - Timekeeping (Max) :
- 0.6μA~0.75μA @ 2V~5V
- Date Format :
- YY-MM-DD-dd
- Factory Lead Time :
- 7 Weeks
- Feature :
- Alarm, Leap Year, Watchdog Timer
- Height Seated (Max) :
- 1.75mm
- HTS Code :
- 8542.39.00.01
- Information Access Method :
- I2C
- Interface :
- I2C, 2-Wire Serial
- Interrupt Capability :
- Y
- JESD-30 Code :
- R-PDSO-G8
- JESD-609 Code :
- e4
- Length :
- 4.9mm
- Moisture Sensitivity Level (MSL) :
- 2 (1 Year)
- Mounting Type :
- Surface Mount
- Number of Terminations :
- 8
- Operating Temperature :
- -40°C~85°C
- Package / Case :
- 8-SOIC (0.154, 3.90mm Width)
- Packaging :
- Tape and Reel (TR)
- Part Status :
- Active
- Peak Reflow Temperature (Cel) :
- 260
- Pin Count :
- 8
- Power Supplies :
- 2/5V
- Published :
- 2003
- Qualification Status :
- Not Qualified
- RoHS Status :
- ROHS3 Compliant
- Supply Voltage :
- 2V
- Surface Mount :
- yes
- Terminal Finish :
- Nickel/Palladium/Gold (Ni/Pd/Au)
- Terminal Pitch :
- 1.27mm
- Terminal Position :
- Dual
- Time Format :
- HH:MM:SS (24 hr)
- Time-Min :
- SECONDS
- Time@Peak Reflow Temperature-Max (s) :
- NOT SPECIFIED
- Type :
- Clock/Calendar
- Volatile :
- yes
- Voltage - Supply :
- 1.8V~5.5V
- Width :
- 3.9mm
Datasheets
- Datasheets
- PCF8563T/5,518
Frequently Asked Questions
what is PCF8563T/5?
The $PCF8563T/5 $is a real-time clock (RTC) and calendar chip manufactured by NXP Semiconductors. This device is commonly used in various electronic applications that require accurate timekeeping functionality. The $PCF8563T/5 $integrates a $real-time clock/calendar $with an alarm function and a timer.
-
1,000+Daily Order Quantity
-
2,500,000+Alternative Parts
-
2,200+Worldwide Manufacturers
-
10,000 ㎡In-stock Warehouse

















